介紹了電子塞規式測量系統測量中型軸承套圈內徑尺寸的工作原理,量儀移動、兩點法測量方式,一次測量可完成軸承內徑、橢圓、錐度的評定。
【關鍵詞】:中型軸承;手持式塞規測量系統;內徑;橢圓;錐度
軸承內徑的尺寸公差關系到與主機軸的配合精度,隨著列車提速及高速列車的普及,對軸承內徑與軸頸配合質量提出了更高的要求。軸承內徑的尺寸精度將直接影響主機的工作性能和軸承的使用壽命。目前對于孔徑280mm以下尺寸段的軸承,大多數軸承生產企業是采用手工測量,其測量方式仍為儀器固定不動人工搬動零件測量,此種測量方式大大增加了工人的勞動強度。在各鐵路車輛段的軸承檢修,由于成套軸承重量重,采用的是內徑調心機找最大點的方法測量成套軸承的內徑尺寸,存在隨機誤差大,測量一致性差、測量效率低的情況。而手持式BMD塞規式測量系統可很好的解決上述鐵路軸承內徑檢測問題。
1 測量系統結構
該測量系統采用積木式結構,可任意與各個尺寸段的測頭搭建,完成不同尺寸段的孔徑測量。具有操作簡單,結構牢固、成套量具具備小巧玲瓏、手持方便等的特點。一次測量不僅能精確地測量孔徑,還可以完成孔的橢圓、錐度、孔的母線形狀等各種幾何形狀誤差的測量。
以內徑?130mm為例,該測量系統量具總重量小于0.5kg,塞規頭特別適用于大批量生產中的自動及手動測量,此測量方法原理簡單,整套測量裝置如圖1所示,量具結構合理,操作方便,測量值不受人為因素影響,一致性好,使用壽命長且精度高。
1.1 測頭
BMD測頭如圖2、圖3所示,特有的導向圓柱體設計,導向體與孔徑合理的間隙設計保證了測量結果的可靠性,測頭的漲簧設計提供了測力恒定的條件并解決孔徑測量的對中難題,保證了每一次測量對準中心,有效地解決了內徑測量定中心的測量難點,測量過程不需要找拐點,最大限度地減少了人為因素對測量結果的影響,從而能方便、快速、準確地得出測量結果。
BMD測頭可以安裝在自動測量設備上進行自動測量,測頭進入孔中后可以利用導向圓柱體和漲簧自動定中心,為解決測頭置入軸承內圈時的對準困難,設計了一種可與測頭連接的浮動夾頭(圖4)。浮動夾頭與測頭配合,固定在夾具中使用,浮動夾頭的目的是補償自動測量時測頭相對被測件孔的位置誤差及測頭與內徑孔軸線間的角度誤差。浮動夾頭上的調整螺母可調整測頭的浮動量(0~±0.5mm可調,若浮動范圍過大會導致測頭的前端與軸承倒角端面相撞)。保證裝在自動測量機上的BMD測頭平滑穩定的進入被測孔,保護測頭和工件。并利用測頭的漲簧自定心作用在孔徑的絕對中心完成測量,確保測量精度。
1.2 導向圓柱
導向圓柱可使測頭測點位于孔徑的軸向和徑向中心,研磨出有錐度的測針以1:1的比例將測點的測量行程傳遞給夾緊在手柄上的顯示表。
1.3 隔熱手柄
手動測量配置了隔熱手柄,可有效防止溫度傳遞產生的誤差,保持良好的溫度穩定性。可避免溫度波動使被測件溫度相差,所引起的測量誤差。
1.4 可旋轉附件
手持量具的隔熱手柄上可加旋轉附件,加了旋轉附件的手柄可使BMD測頭在工件中360o旋轉,而顯示表保持不動,方便讀數。配置這種手柄是測量橢圓及棱面度誤差的理想選擇。
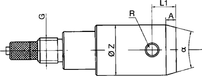
![]() 1—指針表;2—手柄;3—測針;4—導向圓柱體;5—測頭;6—測點;7—零件 圖1 BMD塞規式測量系統手持量儀 | ![]() 圖2 帶有導向圓錐的BMD塞規式測頭 |
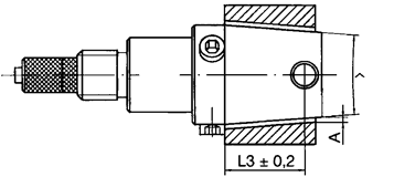
![]() 圖3 測量圓錐孔的BMD塞規式測頭 | |
![]() 圖4 浮動夾頭 | |
2 測量方法及校準
該系統量儀為比較測量,手持量儀插入校對環規,根據環規的實際尺寸設置顯示值或將顯示值設置為零,校對環規的尺寸應與孔的最小尺寸相同,如此可以確保在校準過程中極大的減小軸向和徑向的誤差。歸零位后手持量儀可直接插人被測零件孔徑,評定被測孔直徑,轉動旋轉附件360o,可評定孔徑尺寸及橢圓度,手持量儀沿孔軸向移動可評定錐度及孔的母線形狀誤差。
線性:量儀在測量范圍內采用兩個校對規進行檢測,使用最小下偏差調零,然后用上偏差環規進行比對,整個行程內偏差不得超過1%。
重復性:在名義尺寸相對應的校對環規中進行10次檢測,偏差不超過1μm。
3 誤差分析
3.1 測頭與工件內徑差引起測量誤差ΔB
由圖5可以看出:

式中:R為工件半徑,mm;r為BMD測頭導向體半徑,mm。
由圖5可知:R=r+ΔA, ΔA為工件中心與測頭中心的偏移量,mm。
則
。
![]() 圖5 | ![]() 測量截面示意圖 |
3.2 傾斜引起的測量誤差Δα
如圖6所示,

式中:α為傾斜角,(°);d為工件實測內徑,mm。
![]() 圖6 | ![]() 測頭傾斜測量示意圖 |
3.3 千分表指示誤差Δ1
根據國家計量檢定規程,測量范圍0~10mm的千分表示值誤差不大于14μm。
3.4 隨機誤差Δ2
其他諸多隨機誤差(如標準件誤差、校準誤差等)引起的誤差小于1μm。
3.5 總測量誤差Δs

通過誤差分析,測量舉例:被測件
,r = 64.90 ,ΔA= 0.10,α = 0.191°,
則測量誤差:ΔB = 0.00015,Δα=(1-cos0.191o)×130=0.0007,被測件公差范圍0.025mm,由此引起的指示表誤差△1=0.35μm,Δ2=1μm,故總測量誤差為

4 結束語
該測量系統解決了鐵路機車軸承、客車軸承 、軋機軸承等重量較重,外形尺寸較大、搬動不方便的高精度軸承內徑檢測。其測量原理完全符合滾動軸承內徑測量國家標準。檢測系統還可通過更換測頭完成內徑錐孔的測量。把顯示系統更換成無線數據傳輸系統,可實現在量儀上編程設定公差,測量數據通過無線電傳輸,安全性高,分辨率可達到0.0001mm。
| |










