中華人民共和國國家標準
冷拔異型鋼管
Cold drawn shaped steel tubes
GB/T 3094-2012
發布部門:中華人民共和國國家質量監督檢驗檢疫總局
中國國家標準化管理委員會
發布日期:2012年05月11日
實施日期:2013年02月01日
前 言
本標準按照GB/T 1.1-2009給出的規則起草。
本標準參照ASTM A 500-07《圓形與異型冷成形焊接與無縫碳素鋼結構管》修訂。
本標準代替GB/T 3094-2000《冷拔無縫異型鋼管》。本標準與GB/T 3094-2000相比,主要變化如下:
——增加了Q215、Q235、Q345、Q390鋼牌號的質量等級,刪除了Q295牌號;
——增加了訂貨內容;
——修改了彎曲度和扭轉值要求;
——刪除了標記示例;
——修改了通常長度;
——修改了鋼管的力學性能;
——增加了鋼管沖擊試驗要求;
——修改了附錄A中鋼管的規格尺寸。
本標準由中國鋼鐵工業協會提出。
本標準由全國鋼標準化技術委員會(SAC/TC 183)歸口。
本標準起草單位:上海異型鋼管有限公司、江蘇界達特異新材料股份有限公司。
本標準主要起草人:高志建、陳紅旗、朱速建、薛建良、王煒、胡宏偉、楊雯懿、雷亮亮。
本標準所代替標準的歷次版本發布情況為:
——GB 3094-1982;
——GB/T 3094-2000。
1 范圍
本標準規定了冷拔異型鋼管的分類、代號、訂貨內容、外形、尺寸、技術要求、試驗方法、檢驗規則、包裝、標志和質量證明書。
本標準適用于冷拔成形的簡單斷面異型鋼管(簡稱鋼管)
2 規范性引用文件
下列文件對于本文件的應用是必不可少的。凡是注日期的引用文件,僅注日期的版本適用于本文件。凡是不注日期的引用文件,其最新版本(包括所有的修改單)適用于本文件。
GB/T 222 鋼的成品化學成分允許偏差
GB/T 223.5 鋼鐵 酸溶硅和全硅含量的測定 還原型硅鉬酸鹽分光光度法
GB/T 223.9 鋼鐵及合金 鋁含量的測定 鉻天青S分光光度法
GB/T 223.12 鋼鐵及合金化學分析方法 碳酸鈉分離-二苯碳酰二肼光度法測定鉻量
GB/T 223.14 鋼鐵及合金化學分析方法 鉭試劑萃取光度法測定釩含量
GB/T 223.17 鋼鐵及合金化學分析方法 二安替比林甲烷光度法測定鈦量
GB/T 223.19 鋼鐵及合金化學分析方法 新亞銅靈-三氯甲烷萃取光度法測定銅量
GB/T 223.23 鋼鐵及合金 鎳含量的測定 丁二酮肟分光光度法
GB/T 223.40 鋼鐵及合金 鈮含量的測定 氯磺酚S分光光度法
GB/T 223.59 鋼鐵及合金 磷含量的測定 鉍磷鉬藍分光光度法和銻磷鉬藍分光光度法
GB/T 223.60 鋼鐵及合金化學分析方法 高氯酸脫水重量法測定硅含量
GB/T 223.62 鋼鐵及合金化學分析方法 乙酸丁酯萃取光度法測定磷量
GB/T 223.63 鋼鐵及合金化學分析方法 高碘酸鈉(鉀)光度法測定錳量
GB/T 223.64 鋼鐵及合金 錳含量的測定 火焰原子吸收光譜法
GB/T 223.68 鋼鐵及合金化學分析方法 管式爐內燃燒后碘酸鉀滴定法測定硫含量
GB/T 223.69 鋼鐵及合金 碳含量的測定 管式爐內燃燒后氣體容量法
GB/T 223.71 鋼鐵及合金化學分析方法 管式爐內燃燒后重量法測定碳含量
GB/T 223.72 鋼鐵及合金 硫含量的測定 重量法
GB/T 228.1 金屬材料 拉伸試驗 第1部分:室溫試驗方法
GB/T 229 金屬材料 夏比擺錘沖擊試驗方法
GB/T 699 優質碳素結構鋼
GB/T 700 碳素結構鋼
GB/T 1591 低合金高強度結構鋼
GB/T 2102 鋼管的驗收、包裝、標志和質量證明書
GB/T 2975 鋼及鋼產品 力學性能試驗取樣位置及試樣制備
GB/T 3077 合金結構鋼
GB/T 4336 碳素鋼和中低合金鋼 火花源原子發射光譜分析方法(常規法)
GB/T 20066 鋼和鐵 化學成分測定用試樣的取樣和制樣方法
GB/T 20123 鋼鐵 總碳硫含量的測定 高頻感應爐燃燒后紅外吸收法(常規方法)
GB/T 20125 低合金鋼 多元素的測定 電感耦合等離子體發射光譜法
3 分類和代號
鋼管按截面形狀分類和代號如下:
a) 方形鋼管 D-1;
b) 矩形鋼管 D-2;
c) 橢圓形鋼管 D-3;
d) 平橢圓形鋼管 D-4;
e) 內外六角形鋼管 D-5;
f) 直角梯形鋼管 D-6。
4 訂貨內容
按本標準訂購鋼管的合同或訂單應包括但不限于下列內容:
a) 標準編號;
b) 產品名稱:
c) 鋼的牌號及質量等級(若適用);
d) 尺寸規格;
e) 訂購數量(總重量或總長度);
f) 交貨狀態;
g) 特殊要求。
5 外形、尺寸及重量
5.1 外形和尺寸
鋼管的外形和尺寸應分別符合附錄A中圖A.1~圖A.6和表A.1~表A.6的規定。經供需雙方協商,可供應圖A.1~圖A.6和/或表A.1~表A.6以外形狀和/或規格的鋼管。
5.2 鋼管的尺寸允許偏差
鋼管的尺寸允許偏差應符合表1的規定。
當需方未在合同中注明鋼管尺寸允許偏差級別時,鋼管的尺寸允許偏差應符合普通級尺寸精度的規定。當需方要求高級尺寸精度時,應在合同中注明。
根據需方要求,經供需雙方協商,可供應表1規定以外尺寸允許偏差的鋼管。
表1 鋼管的尺寸允許偏差 單位為毫米

5.3 邊凹凸度
鋼管的邊凹凸度應符合表2的規定。
當需方未在合同中注明鋼管邊凹凸度級別時,鋼管的邊凹凸度應符合普通級精度的規定。當需方要求邊凹凸度高級精度時,應在合同中注明。
表2 鋼管的邊凹凸度 單位為毫米
| 邊長尺寸 | 邊凹凸度(不大于) | |
| 普通級 | 高級 | |
| ≤30 | 0.20 | 0.10 |
| >30~50 | 0.30 | 0.15 |
| >50~75 | 0.8%A、0.8%B | 0.5%A、0.5%B |
| >75 | 0.9%A、0.9%B | 0.6%A、0.6%B |
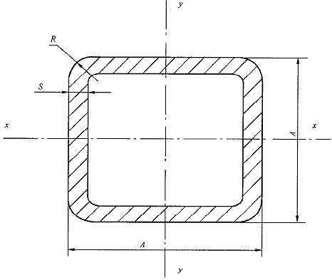
5.4 外圓角半徑
鋼管端面的外圓角半徑(R)應符合表3的規定。
表3 鋼管的外圓角半徑 單位為毫米
| 壁厚(S) | S≤6 | 6<S≤10 | S>10 |
| 外圓角半徑(R) | ≤2.0S | ≤2.5S | ≤3.0S |
5.5 彎曲度
鋼管的彎曲度應符合表4的規定。
當需方未在合同中注明鋼管彎曲度等級時,鋼管的彎曲度應符合普通級精度的規定。當需方要求高級精度時,應在合同中注明。
表4 鋼管的彎曲度
| 精度等級 | 彎曲度/(mm/m) | 全長(L)彎曲度 |
| 普通級 | ≤3.0 | ≤0.3%L |
| 高級 | ≤2.0 | ≤0.2%L |
5.6 扭轉值
鋼管不允許有明顯扭轉。方形鋼管、矩形鋼管和直角梯形鋼管的扭轉值應符合表5的規定。
根據需方要求,經供需雙方協商,并在合同中注明,可供應表5規定以外扭轉值的鋼管。
表5 鋼管的扭轉值
| 鋼管邊長/mm | 允許扭轉值/(mm/m) |
| ≤30 | ≤1.5 |
| >30~75 | ≤2.0 |
| >75 | ≤2.5 |
5.7 長度
5.7.1 通常長度
鋼管的通常長度為2000mm~9000mm。
根據需方要求,經供需雙方協商,并在合同中注明,可供應規定以外長度的鋼管。
5.7.2 定尺長度和倍尺長度
5.7.2.1 根據需方要求,經供需雙方協商,并在合同中注明,鋼管可按定尺長度或倍尺長度交貨。
5.7.2.2 定尺長度和倍尺長度應在通常長度范圍內。定尺長度允許偏差為
mm;倍尺總長度允許偏差為
mm,每個倍尺長度應留5mm~10mm的切口余量。
5.8 端頭外形
鋼管的兩端端面應與鋼管軸線垂直,切口毛刺應予清除。
5.9 重量
鋼管按實際重量交貨。合同中注明,亦可按理論重量交貨,理論重量的計算公式參照附錄A(鋼的密度取7.85kg/dm3)。
6 技術要求
6.1 鋼的牌號和化學成分
6.1.1 優質碳素結構鋼的牌號為10、20、35和45,其化學成分(熔煉分析)應符合GB/T 699的規定。
碳素結構鋼的牌號為Q195、Q215和Q235,其化學成分(熔煉分析)應符合GB/T 700的規定。
低合金高強度結構鋼的牌號為Q345和Q390,其化學成分(熔煉分析)應符合GB/T 1591的規定。
根據需方要求,經供需雙方協商,可供應合金結構鋼鋼管,其牌號和化學成分(熔煉分析)應符合GB/T 3077的規定。
6.1.2 當需方要求進行成品化學分析時,應在合同中注明。成品鋼管的化學成分允許偏差應符合GB/T 222的規定。
6.1.3 根據需方要求,經供需雙方協商,可供應其他牌號的鋼管。
6.2 制造方法
6.2.1 鋼管應采用無縫鋼管經冷拔成形方法制造。
6.2.2 根據需方要求,經供需雙方協商,并在合同中注明,鋼管可采用焊接鋼管經冷拔成形方法制造。冷拔焊接鋼管的焊縫應避開圓角處。
6.3 交貨狀態
鋼管應以冷拔狀態交貨。根據需方要求,經供需雙方協商,并在合同中注明,鋼管可以熱處理狀態交貨。
6.4 力學性能
6.4.1 冷拔狀態交貨的鋼管,不作力學性能試驗。當鋼管以熱處理狀態交貨時,鋼管的縱向力學性能應符合表6的規定;合金結構鋼鋼管的縱向力學性能應符合GB/T 3077的規定。
6.4.2 以熱處理狀態交貨的Q195、Q215、Q235、Q345和Q390鋼管,當周長不小于240mm且壁厚不小于10mm時,應進行沖擊試驗,其夏比V型缺口沖擊吸收能量(KV2)應符合表6的規定。沖擊試樣寬度應為10mm、7.5mm或5mm中盡可能的較大尺寸;如無法截取寬度為5mm的試樣時,可不進行沖擊試驗。
表6中的沖擊吸收能量為標準尺寸試樣夏比V型缺口沖擊吸收能量要求值,當采用小尺寸沖擊試樣時,小尺寸試樣的夏比V型缺口沖擊吸收能量要求值應為標準尺寸試樣沖擊吸收能量要求值乘以表7中的遞減系數。
6.4.3 周長不小于240mm且壁厚不小于10mm的合金結構鋼鋼管,其標準試樣沖擊吸收能量應符合GB/T 3077的規定。
6.4.4 冷拔焊接鋼管的力學性能試驗取樣位置應位于母材區域。
表6 鋼管的力學性能

表7 小尺寸試樣沖擊吸收能量遞減系數
| 試樣規格 | 試樣尺寸(高度×寬度)/(mm×mm) | 遞減系數 |
| 標準試樣 | 10×10 | 1.00 |
| 小試樣 | 10×7.5 | 0.75 |
| 小試樣 | 10×5 | 0.50 |
6.5 表面質量
6.5.1 鋼管的內外表面不允許有裂紋、折疊、結疤、軋折和離層。這些缺陷應完全清除,清除深度應不超過公稱壁厚的負偏差,清除處的實際壁厚應不小于壁厚偏差所允許的最小值。
6.5.2 不超過壁厚負偏差的其他局部缺陷允許存在。
6.5.3 冷加工狀態交貨鋼管的內外表面,允許存在制造過程中的磷酸鹽和潤滑劑附著層。根據需方要求,經供需雙方協商,并在合同中注明,供方可對磷酸鹽和潤滑劑附著層予以去除。
6.5.4 冷拔焊接鋼管不允許有搭焊、過燒存在。鋼管焊縫的外毛刺應清除,剩余高度應不大于0.5mm;鋼管焊縫的內毛刺允許存在。根據需方要求,經供需雙方協商,并在合同中注明,可對內毛刺做特殊規定。
7 試驗方法
7.1 鋼管的尺寸和外形應采用符合精度要求的量具逐根測量。扭轉值的測量方法應符合附錄B的規定。
邊長、邊凹凸度和扭轉值的測量位置應在距鋼管兩端至少為最大邊長(且不小于50mm)的位置;壁厚應在鋼管角部圓弧外的平面位置測量。
7.2 鋼管的內外表面應在充分照明條件下逐根目視檢查。
7.3 鋼管其他檢驗項目的取樣方法和試驗方法應符合表8的規定。
表8 鋼管的檢驗項目、取樣數量、取樣方法、試驗方法
| 序號 | 檢驗項目 | 取樣數量 | 取樣方法 | 試驗方法 |
| 1 | 化學成分 | 每爐取1個試樣 | GB/T 20066 | GB/T 223、GB/T 4336 GB/T 20123、GB/T 20125 |
| 2 | 拉伸試驗 | 每批在兩根鋼管上各取1個試樣 | GB/T 2975 | GB/T 228.1 |
| 3 | 沖擊試驗 | 每批在兩根鋼管上各取1組3個試樣 | GB/T 2975 | GB/T 229 |
8 檢驗規則
8.1 檢查和驗收
鋼管的檢查和驗收由供方質量技術監督部門進行。
8.2 組批規則
8.2.1 鋼管按批進行檢查和驗收。
8.2.2 每批應由同一牌號、同一爐號、同一規格和同一熱處理制度或爐次(若適用)的鋼管組成。每批鋼管的數量應不超過如下規定:
a) 周長≤240mm:400根;
b) 周長>240mm:200根。
8.3 取樣數量
每批鋼管各項檢驗的取樣數量應符合表8的規定。
8.4 復驗與判定規則
鋼管的復驗與判定規則應符合GB/T 2102的規定。
9 包裝、標志和質量證明書
鋼管的包裝和質量證明書應符合GB/T 2102的規定。冷拔焊接鋼管的標志內容應包括焊接標識,鋼管標志的其他要求應符合GB/T 2102的規定。
附 錄 A
(規范性附錄)
鋼管的外形和尺寸
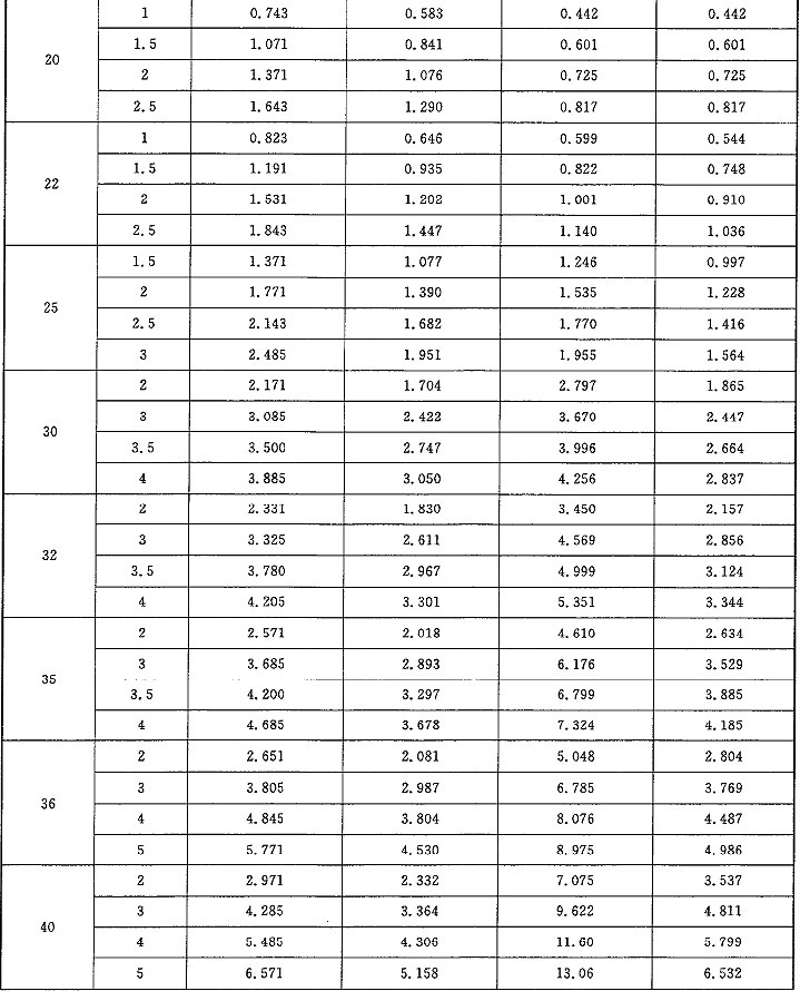
A.1 圖A.1~圖A.6和表A.1~表A.6為鋼管的外形和尺寸。表A.1~表A.6中所列鋼管的理論重量和物理參數供參考。

圖A.1 方形鋼管(D-1)
表A.1 方形鋼管的尺寸、理論重量和物理參數






圖A.2 矩形鋼管(D-2)
表A.2 矩形鋼管的尺寸、理論重量和物理參數






圖A.3 橢圓形鋼管(D-3)
表A.3 橢圓形鋼管的尺寸、理論重量和物理參數


圖A.4 平橢圓形鋼管(D-4)
表A.4 平橢圓形鋼管的尺寸、理論重量和物理參數


圖A.5 內外六角形鋼管(D-5)
表A.5 內外六角形鋼管的尺寸、理論重量和物理參數


圖A.6 直角梯形鋼管(D-6)
表A.6 直角梯形鋼管的尺寸、理論重量和物理參數

附 錄 B
(規范性附錄)
異型鋼管扭轉值測定方法
B.1 扭轉值
由于制造原因鋼管繞其縱軸旋轉成螺旋狀時產生的扭轉角,其每單位長度所相對應的最大值稱為扭轉值,單位為毫米每米(mm/m)。
B.2 測量原理
如果該鋼管出現扭轉,在單位長度內,其側面必產生一端點偏離其另三端點所構成的平面,此偏離距離為扭轉值。
B.3 測定方法
取兩塊邊長大于被測鋼管邊長的鋼板,在標準平板上,使其平行間距為1m并固定,作為測量鋼管扭轉值的簡單量具。測量時,將量具覆于被測鋼管表面(量具方向與鋼管方向一致),使量具一端緊貼鋼管平面,若有扭轉,量具另一端必與鋼管平面構成一夾角,用塞尺測量此夾角的最大距離H(計算公式見式(B.1)),此值即為該鋼管的扭轉值(測定示意圖見圖B.1)。

圖B.1 鋼管扭轉值測定示意圖
H=sinα(A-2R) ...................(B.1)
式中:
H——扭轉值,單位為毫米每米(mm/m);
α——每米扭轉角,單位為度(°);
A——鋼管邊長,單位為毫米(mm);
R——鋼管角部半徑,單位為毫米(mm)。
標準文件:
GB/T-3094-1982 冷拔異型鋼管 標準文件下載
GB/T-3094-2000 冷拔異型鋼管 標準文件下載
GB/T-3094-2012 冷拔異型鋼管 標準文件下載
下載方式: 關注微信公眾號 steeltuber 后回復: 3094 公眾號會自動回復下載的網盤鏈接。


