近幾年,淬火介質技術快速發展,各種各樣針對性淬火介質層出不窮。但是,商用介質也并不是適合所有場合,一些常規介質常有著不可替代的作用。本期介紹幾種常規淬火介質的冷卻特性,掌握這些特性,普通介質依然能閃耀其獨特的亮點。
一、空氣和水
1.1 空氣
空氣作為一種氣體,通過膜沸騰機制來冷卻熱鋼件。與其他淬火冷卻介質相比,靜止空氣的相對烈度見表1。如其他淬火冷卻介質一樣,空氣的冷卻速度取決于流經鋼件表面的空氣的流速,見圖1 。雖然空氣是易得且廉價,但是空氣淬火一般無法提供足夠的淬冷烈度來使大多數鋼硬化。
▼表1 各種淬火冷卻介質的典型傳熱系數


▲圖1 標準大氣壓下,靜止空氣及1MPa壓
縮空氣(虛線)對鋼的冷卻速度的對比
傳熱的測量是一個Φ20mm
銀球,中心嵌有一支熱電偶
1.2 水
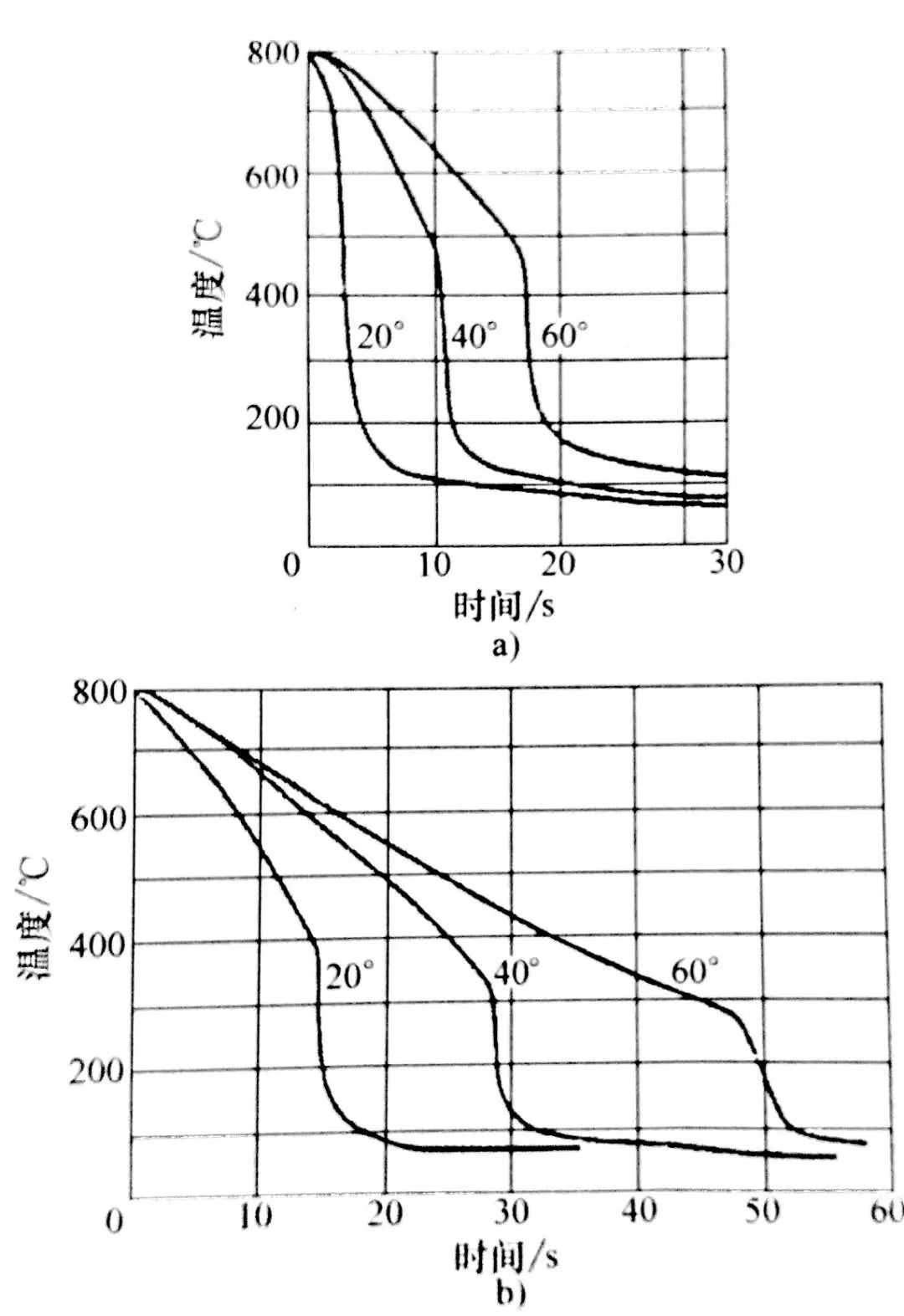
冷水是最劇烈的淬火冷卻介質之一。但是,水的淬冷烈度變化范圍很大。蒸餾水(軟水)相對于非蒸餾水或硬水(可能包含不定量的硬金屬鹽)而言,其膜沸騰行為會大幅增加。硬水中存在的硬金屬鹽會吸附到鋼的表面上,成為氣泡形核點,從而促進氣泡的形成和核沸騰,從而減少了膜沸騰階段的持續時間。硬水里含有鈣和鎂的碳酸鹽和碳酸氫鹽,還有一些其他多價金屬鹽。蒸餾水和硬水冷卻性能的區別如圖2 所示,硬水的冷卻速度明顯高于蒸餾水。淬火水溫和攪拌對水冷卻速度的影響如圖3 所示。
關于水溫和攪拌對水淬的影響,有以下幾個重要結論:
1) 水溫升高,冷卻時間增加。
2) 最大冷卻速度和最大冷卻速度發生的溫度隨水溫升高而降低。
3) 隨著水溫的升高,工件343℃ (649℉)時的冷卻速度只有輕微降低。
4) 水溫對232℃ (450℉)時的冷卻速度影響非常小。
5) 在用20℃ (68℉)的冷水淬火時,由于淬火過程中三種沸騰機制同時存在,造成冷卻結果不一致;但是在60℃ (140下)的熱水中淬火時,蒸汽膜更穩定,膜破裂需要更多的攪拌。
6) 冷水淬火并提高攪拌速度,相對于無攪拌的熱水來說,殘余應力較小。
零件設計對變形和開裂的影響在其他情況下可能被掩蓋掉了。但是,在以下特定的淬火冷卻介質中,有明確的零件設計要求(建議):
1) 橫截面尺寸(d ) 較小的長型(長度為L )零件應按以下方法淬火:長而細的零件,如果L= 5d, 可以在水中淬火;如果L=8d, 應該在油中淬火;如果L=10d, 應該用等溫淬火。
2) 大而薄的零件是指橫截面積(A ) 與厚度(t ) 的關系為A≥50t 。零件如果達到這個尺寸關系,淬火后必須校直或者采用壓淬,以保證尺寸穩定性。如果材料具有足夠的淬透性,則應該用油淬或者熔鹽淬火。
二、鹽、堿水溶液
鹽、堿水是指各種不同濃度的鹽或堿的水溶液。如氯化鈉或氯化鈣的水溶液、碳酸鈉水溶液、氫氧化鈉水溶液。在同樣的攪拌條件下,鹽水的冷卻速度要高于蒸餾水。鹽的存在還會降低蒸汽膜形成傾向,而蒸汽膜會導致不均勻冷卻,變形增加、開裂和軟點的形成。雖然有很多種鹽溶液可以使用,但是熱處理行業中最常用的是以下兩種:
彼得拉什(Petrash ) 研究了 NaCl 和 NaOH 的加入對水的蒸汽膜穩定性的影響。僅僅添加 5% 的 NaCl 幾乎就可使蒸汽膜冷卻階段完全消除,如圖4 a)示。

在水中加入15%的 NaCl 可以得到最理想的冷卻速度。雖然提高鹽水溫度會使淬冷烈度產生期望的降低,如圖4 b)所示,但是水的蒸汽膜冷卻階段并不伴隨著這種降低而延長。NaCl 水溶液最常見的替代物是NaOH 水溶液。加入NaOH 對冷卻速度增加的影響類似于 NaCl 在更高溫度下的效果。但是,在大多數鋼的馬氏體轉變溫度區域[低于350℃ (660℉) ]的冷卻速度比 NaCl 慢,這有望降低開裂敏感性。圖5所示,為 NaOH 濃度對冷卻速度的影響。

▲圖5 NaOH 濃度對冷卻速度的影響
[浴溫為20℃ (70℉)
崔(Cui ) 等人研究了在水中分別加入0.06mol/L 的NaCl、Na2SO4和 MgSO4 對噴霧冷卻過程中傳熱的影響。他們報道稱,添加 NaCl 和 Na2SO4 加速了核沸騰過程的傳熱,但對過渡沸騰都沒有顯著的影響。在這些鹽中,NaCl 在該濃度值下表現出的影響最小,而 MgSO4 最大。隨著MgSO4 濃度的增加,其對冷卻速度的影響也隨之增加,直到濃度增加到0.2mol/L時, 在過渡沸騰和核沸騰兩個階段,熱流密度的增加都達到最大。另外,該報道還稱,在過渡沸騰階段 MgSO4 粘附到了金屬表面上,并使表面粗糙度值和傳熱量都得到增加。新井(Ara ) 和古屋(Furuya ) 研究了膜沸騰過程,他們使用的是一個Φ30mm (Φ1.2in)的球形304 不銹鋼探頭,球體內嵌一個K型熱電偶,并用惰性氣體保護焊將鎢焊在距離底部2mm(0.08in)的位置。奧氏體化之后,探頭一半直徑[15mm(0.6in ) ] 被浸入淬火介質中(純水或CaCl2 的水溶液)。淬火冷卻介質的溫度為80℃ (175℉) 。當近表面溫度冷到800℃ (1470℉)時開始計時。每次實驗都用一根新探頭。用數碼攝像機觀察沸騰行為,幀速為30幀/s, 快門速率為0.125ms。最終得到了試驗的冷卻時間-溫度曲線和冷卻過程的視頻。圖6 所示為得到的冷卻曲線;圖7 所示為挑選的高速率照片,用來說明 CaCl2 對冷卻過程的影響。


▲圖7 濃度為20%的 CaCl, 對蒸汽膜破潰的影響圖6 中在純水冷卻曲線上標記為A、B、C、D和E的點表示:
1) 點A拍攝于0. 0s, 表示穩定蒸汽膜的形成。
4) 點D點處整個球的蒸汽膜破潰,有很多氣泡形成。質量分數為20%的 CaCl2 溶液對應的冷卻過程如圖6 所示。與純水相比,其在界面冷卻行為上有一些不同。例如,比純水的蒸汽膜更薄,破潰得更快。當膜沸騰轉變到核沸騰時,在點D處,小的氣泡與表面分離,CaCl2溶液變得渾濁。合起來看,這些數據表明,CaCl2 的存在提高了膜沸騰的傳熱速率并有效動搖了蒸汽膜(使之不穩定)。在純水中,蒸汽膜厚度大約為 0.5mm(0.02in) , 其最大值出現在點A處,蒸汽膜向水面傳播。在CaCl2 溶液中,蒸汽膜厚度將大幅減小。在以上兩種情況下,膜沸騰都發生在過熱度為500K及其以上的范圍。表面熱流密度隨著過熱度的減小而減少。在表面熱流密度達到最小值時過渡到核沸騰發生。相對于純水而言,CaCl2 溶液顯示出相似的趨勢,但是其在膜沸騰期間的表面熱流密度和表面熱流密度最大值要比純水更大。穆欣娜(Mukhina) 等人評估了10%~12%的CaCl2和14%的 MgCl2(也叫水氯鎂石)濃溶液的應用。他們發現,結合強烈攪拌,中碳鋼形成了高的表面壓應力,能避免淬火時在鋼表面膜沸騰結束時形成的開裂。另外,在力學性能方面比油淬要好20%~30% 。在一項較新的研究中,科巴斯科(Ko-basko) 等人拓展了穆欣娜之前的工作,評估了更多鹽溶液的應用,包括 NaNO3, Na2CO3、NaCl、CaCl2、Ca (OH) 2 。然而,在所有情況下,最佳濃度不僅要被用到,還要結合強烈攪拌的水來使用(注:最佳濃度是指產生最少量膜沸騰的鹽濃度)。鋼的含碳量是選擇淬火冷卻介質的決定性因素之一,特別是因為隨著含碳量的增加,開裂傾向也隨之增加。表2 所列為水、鹽水和氫氧化鈉溶液淬火建議的含碳量限值。但這些數據不適用于強烈淬火工藝。
▼表2 水、NaCl溶液、NaOH溶液淬火建議的含碳量限值

鹽溶液的濃度通常用密度來量化。各種代表性溶液的 NaCl 和 NaOH 濃度的的密度見表3 。
▼表3 鹽水濃度和密度之間的關系

水和不同的鹽溶液與其他介質的相對冷卻速度見表4 。如設想的一樣,在表中所列的各種淬火冷卻介質中,鹽溶液具有最大的相對冷卻速度。而且水溫升高將導致相對冷卻速度逐漸減慢。熱水、空氣和真空是其中冷卻速度最慢的淬火冷卻介質。
▼表4 不同淬火冷卻介質的相對冷卻速度

三、熔融金屬

鉛是歷來最常用于做淬火冷卻介質的金屬之一。鉛的熔點是 327℃ (621°F) , 使用范圍一般為343~ 927℃ (649~1701°F) 。低于343℃ (649°F) 時,鉛黏度太大,不能有效地用作淬火冷卻介質。熔融鉛的熱物理性能見表5 。盡管鉛是有毒物質,并且存在清理問題,但其優異的處理效果,仍然被用于鋼絲的派登脫處理(索氏體化淬火)和一些等溫淬火操作中。因為熔融鉛具有高的熱導率,并且沒有膜沸騰冷卻階段,所以在高溫階段具有相當快的冷卻速度,是其他淬火冷卻介質難以企及的。
▼表5 熔融鉛的物理性質

鉛浴派登脫(索氏體化)處理的冷卻過程受熔融鉛熱物理性質的影響,包括黏度,比熱容、熱導率及鋼絲表面和熔融鉛之間的邊界層厚度,圖8 所示,為隨浴溫從 475℃ (885℉) 增 加 到 550℃ (1020℉)其冷卻速度逐漸增加。這在一定程度上是因為隨著溫度升高黏度在降低。但是,隨著浴溫進一步升高到 690℃ (1275°F),冷卻速度又下降了。這在一定程度上是因為鋼絲與鉛浴之間的溫差減小了。此外,需要著重指出的是,在所示的三個(溫度)冷卻過程中,都沒有發生膜沸騰。
▲圖8 Φ5mm×10mm ( (Φ0.2in×0. 4in)
因為鉛的毒性和廢料處理問題,有人研究了其替代淬火冷卻介質。酋崎正剛研究的一種可能的替代物是用熔融鈉去淬淬透性更低的鋼,它們要達到需要的淬火深度需要很快的冷卻速度。熔融鈉的物理性質見表6 。在此項研究中,熔融鈉浴的溫度范圍為150~300℃ (300~570°F) 。圖7 所示,為水、礦物油、聚合物水溶液、熔融鹽和熔融鈉[液溫為 115℃ (240°F) 、200℃ (390°F) 和 300℃ (570°F) ] 的冷卻曲線對比。
▲圖9 Φ10mm×30mm ( Φ0.4in×1.2in) 的鈉[115℃ (240℉F) 、200℃ (390°F) 、相對于其他一起進行評價的淬火冷卻介質,熔融鈉在冷卻曲線高溫階段的冷卻速度是最快的。采用這些數據進行計算的結果顯示,熔融鈉在冷卻曲線的高溫階段具有很高的傳熱系數[30000W/ (m2/K) ] 。而且隨著熔融鈉浴溫度的增加,在低溫階段冷卻速度逐漸降低。
因為無毒、物理性能與熔融鉛類似,有人研究了將鉍作為一種替代鉛的淬火冷卻介質的可能性。熔融鉍的熱物理性質見表7 所示。
▼表7 熔融鉍的物理性質

Ru 和 Wang 對使用熔融鉍淬AISI1025碳鋼做了研究。鋼試樣在900℃ (1650℉)下奧氏體化,然后淬入熔融鉛或熔融鉍,液溫分別為400℃ (750℉) 、430℃ (800℉)和460℃ (860℉)。淬入鉍或鉛所得的顯微組織和硬度值基本相同。而且淬火后在熔融鉍浴里沒有發現明顯的腐蝕或鉍與鋼的反應。基于此研究可得出結論:在目前使用熔融鉛的場合,熔融鉍是一種可行的替代物。
分級淬火和等溫淬火都要求淬火冷卻介質的溫度相對較高。分級淬火要求鋼件迅速冷卻到比 Ms 轉變溫度稍高一點的溫度,穩定化,然后冷卻到室溫。這種工藝旨在使開裂傾向最小。淬火油典型的黏度和使用溫度見表8 。
▼表8 淬火油典型的黏度或使用溫度

等溫淬火是將鋼件冷卻到稍高于Ms 溫度然后保溫足夠長的時間,使奧氏體轉變成貝氏體。由于等溫淬火可能要為在這種相對較高溫度下使用而專門配制礦物油,所以通常用熔融鹽。分級淬火和等溫淬火可能都不使用普通淬火和回火的油。圖10 所示,為等溫淬火和分級淬火原理的對比。
高溫淬火冷卻介質通常選擇熔融鹽。熔融鹽淬的優點如下:
1) 速率可控的冷卻可以在一些高合金鋼中得到完全退火的組織(等溫退火)。
2) 冷過轉變曲線珠光體“鼻尖”之后到馬氏體轉變之前的一個合適溫度下等溫(均溫), 將降低不希望出現的變形和開裂風險(分級淬火)。
3) 在可控速度下冷卻到合適的溫度,可以使高速鋼的氧化皮、變形及開裂降至最小(雙介質淬火/分級淬火)。加熱時與空氣隔絕有利于表面保護。4) 馬氏體形成階段的開裂風險被降低了,如彈簧鋼絲。5) 以可控速度冷卻可以等溫轉變成貝氏體(等溫淬火)。6) 液溫是一致的,并且可以將誤差精確控制在±2℃ (4°F) 。大多數淬火用鹽是硝鹽,即硝酸鉀(KNO3 ) 、亞硝酸鈉(NaNO2 ) 和硝酸鈉(NaNO3 ) 中的兩種或三種的混合物。最低淬火溫度取決于鹽混合物的熔點。各組分的比例將影響熔融混合物的黏度,而黏度會影響冷卻速度。這些熔融鹽的淬火溫度范圍為140~600℃ (285~1110°F) 。熔融鹽浴溫度在600℃ (1110°F)時容易爆炸降解。表9 所列,為三元混合鹽浴與一種常用礦物油物理性質的對比。雖然礦物油的比熱容相對大一些,但是熔融鹽的熱導率大約是同等質量礦物油的5倍、同等體積礦物油的10倍。而且熔融鹽淬火時不產生膜沸騰現象。
▼表9 三元混合硝鹽浴與常用礦物油物理性能的對比

含水量對 KNO3+NaNO2+NaNO3 三元混合鹽沸點和凝固點的影響如圖11 所示。
▲圖11 含水量對 KNO3/NaNO2/NaNO3
圖11 也表明,隨著水的加入,沸點降低得更迅速。據報道,只要鹽浴溫度保持在含水混合物(即鹽浴)最終的沸點以下含水量可以長時間保持。但是,當熾熱鋼件浸入含水混合物中后,溫度可能暫時超過沸點,一部分水將被汽化,要維持這個組分則要添加新水。因此,為減少淬火過程中水分的流失,較好的辦法是使淬入的鹽混合物溫度更靠近凝固點而不是沸點。迪拜鋁業(Dubal ) 報道稱,加入1%的水將使干鹽(無水的鹽)的熔點降低11℃ (20°F) , 而加入2% 的水則降低19℃ (35°F) 。雖然三元混合鹽淬火的溫度范圍為150~600℃ (300~1110°F), 但是加入10% 的水便可以在80℃ (175°F)的低溫下進行鹽浴淬火。更具代表性的含水量是0.5%~2%, 以滿足更常規的操作溫度范圍150~290℃ (300~550°F) 。添加的水不是淡水,而是清洗槽里的鹽溶液。也有人用低壓蒸汽代替水的。水在鹽浴中的飽和含水量與鹽浴溫度的函數關系見表10 。出于安全考慮,要求將水加入良好攪拌的鹽浴中而不能加入無攪拌的鹽浴中。熔融鹽的淬冷烈度與礦物油大致相同,兩者的格羅斯曼 H 值對比見表11 。兩者的冷卻速度都慢于水、鹽水溶液以及聚合物水溶液。隨著聚合物水溶液組成、濃度及攪拌方式的改變,淬冷烈度的變化范圍可以涵蓋從熔融鹽和礦物油到鹽水溶液的淬冷烈度。
▼表10 KNO3/NaNO2/NaNO3
飽和含水量與鹽浴溫度的關系

KNO3+NaNO2+NaNO3 三元鹽浴的冷卻曲線隨著含水量的增加而上升,如圖12 所示。需要指明的是,冷卻曲線高溫區域的冷卻速度隨含水量的增加而提高,直到含水量增加到研究的最大值2.7%也觀察不到氣相行為。
攪拌對一種低熔點鹽在175℃ (350°F) 時冷卻速度的影響如圖13 所示。
研究中的冷卻速度是650℃ (1200°F) 和260℃ (500℉) 之間的平均值。數據顯示,隨著攪拌速度加快,冷卻速度大幅提高。如之前討論的,含水量從0.5%增加到5%會使冷卻速度提高,如圖14 所示。
水的加入和攪拌結合起來,可以使冷卻速度(淬冷烈度)增加3倍。Liscic, 通過淬用 AISI 4140鋼制造的Φ50mm×200mm (Φ2in×8in) 的圓棒并在橫截面上檢測洛氏硬度分布情況,證明了攪拌速度和水的添加對200℃ (390℉)熱鹽浴[德固薩(Degussa) AS-140] 的影響。圖15 表明,攪拌比不攪拌帶來的硬度增加更大。但是,加2%的水之后,硬度和淬硬深度又得到了進一步的增加。對比3/4R處的硬度值可以發現,良好攪拌并添加2%的水,比無攪拌也不添加水時硬度提高了 19HRC 。對于47HRC的硬化深度,加2%水的比不加水時增加了4倍。
▲圖15 在200℃ (390℉) 熱鹽浴中攪拌和
選擇分級淬火還是等溫淬火工藝還取決于材料的種類。表12 中列出了普通碳鋼、合金鋼及鑄鐵采用不同工藝時能夠達到的洛氏硬度。
▼表12 不同材料的馬氏體淬火和貝氏體淬火

鹽浴溫度在195~350℃ (385~660°F) 范圍內變化對格羅斯曼H值的影響很小。一般來說,合金鋼比碳鋼更常采用分級淬火。但是,如果是強烈攪拌分級淬火油,則一些本來用水淬的壁厚小于5mm的碳鋼也可以在205℃ (400°F)下分級淬火。但不管怎樣,分級淬火都不能省略回火處理。最常采用分級淬火的鋼牌號包括 AISI 1090、4130、4140、4150、4340、300M、4640、5140、6150、8630、8640、8740、8745. SAE 1141 和 SAE 5100等。滲碳后分級淬火的滲碳鋼牌號包括 AISI3312、4620、5120、8620和9310.灰鑄鐵零件通常也做分級淬火。盡管通常用熱油進行分級淬火[175℃ (350°F) ] , 但是也可以使用添加水的熔融鹽。據沃爾(Wahl ) 報道,碳鋼滲碳后在鹽浴中分級淬火,溫度設在180~200℃(355~390°F) , 含水量為0.5%~1.0%以提高冷卻速度,主要的傳熱方式是對流傳熱。

等溫淬火有很多優點,例如可使零件具有高硬度和高韌性,同時可減少變形和尺寸變化以及開裂。但是,等溫淬火冷卻介質不是對所有鋼都普遍適用的,其應用限制因素包括橫截面尺寸、鋼中含碳量等、表13~表15 中列出了對于不同鋼成分、合金元素類型,能做等溫淬火的橫截面尺寸及厚度限制的建議。這些建議中的最大直徑相當于在 315℃ (600°F) 的鹽浴中保溫時,其心部冷卻速度剛好能夠錯過鋼合金TTT曲線的“鼻尖”。
一般來說,隨著轉變溫度的升高,等溫淬火的浸入時間(等溫時間)減少。隨著鋼中含碳量的增加,在相同轉變溫度下轉變時間也增加。同時,在奧氏體化鋼剛浸入時傳熱速度最快,傳熱也是最關鍵的。液流長距離的自由落體或者攪拌可以加快傳熱速度。增加攪拌是最有效的。如前面討論過的,當鋼的淬透性處于臨界值時,或者要淬火的零件橫裁面尺寸很大時,可以采用添加水的辦法。關鍵問題是最小變形時,零件應該在盡可能低的溫度下奧氏體化,然后淬入溫度盡可能高的鹽浴中。如果零件長而細,則需要將其豎直懸掛,以使周圍液流更為一致,從而保證變形最小。
(本平臺"常州精密鋼管博客網"的部分圖文來自網絡轉載,轉載目的在于傳遞更多技術信息。我們尊重原創,版權歸原作者所有,若未能找到作者和出處望請諒解,敬請聯系主編微信號:steel_tube,進行刪除或付稿費,多謝!)