冷處理裂紋,如何應付?-這篇文章分析了某控制閥芯冷處理裂紋產生的主要原因,并對其熱處理工藝進行改進,有效避免了冷處理裂紋的產生,有借鑒價值。
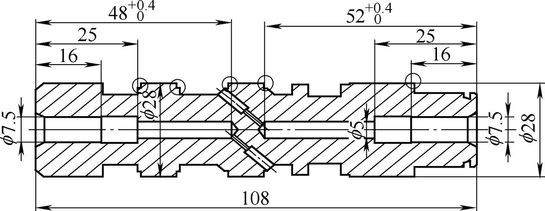
我公司生產的轉向器控制閥芯(見圖1),是動力轉向器中的重要零件,材料為GCr15,其作用是通過軸向前后移動,接通油缸左、右油腔,進入油缸的高壓油推動活塞本體軸向運動,活塞本體的齒條帶動垂臂軸的主齒作徑向正、反轉動,通過轉向垂臂、橫拉桿,實現汽車左右轉向。

圖1 零件簡圖
1.原工藝情況
由于該零件的作用決定了其尺寸精度、位置精度要求非常高,為控制轉向器的內漏指標,必須控制零件的外徑與閥孔的間隙為0.008~0.016mm,圓柱度為0.003mm,表面粗糙度值Ra=0.4μm。而為嚴格控制高壓油接通及液壓噪聲等因素,控制閥芯四個軸向槽距尺寸精度為±0.01mm、±0.02mm,這就要求零件在長期使用中耐磨、尺寸穩定不變。但一般情況下GCr15鋼在淬火后會含有10%~15%的殘留奧氏體,由于這些殘留奧氏體存在于淬火組織中,雖經常規回火處理,仍不能使其全部轉變和穩定,當零件在使用過程中,其尺寸會因殘留奧氏體的轉變而變化,滿足不了尺寸精度要求。
為減少淬火組織中殘留奧氏體含量,并使剩余的少量奧氏體趨于穩定,增加尺寸穩定性和提高硬度,工藝要求淬火后需進行冷處理,原熱處理工藝為:“淬火+冷處理+回火”,即淬火后冷卻到室溫后再進行-70℃左右保溫1h的冷處理,冷處理后待溫度回升到室溫即進行回火。但該工藝自生產以來,產品質量一直不穩定,90%以上批次均或多或少地出現裂紋,裂紋率最高達到60%,盡管采取多種措施嚴格控制,但仍未能杜絕裂紋的產生,經濟損失嚴重。
2.試驗結果
經磁粉探傷檢查裂紋發生位置,一是在零件外圓部位,呈細條狀或細網狀分布,如圖2a所示;二是在臺階溝槽處,呈縱向裂紋分布,裂紋數量較多,如圖2b所示。

(a)

(b)
圖2 裂紋件的宏觀形貌
低倍及化學成分分析,原材料無明顯缺陷,結果如表1及表2所示。
表1 低倍組織
樣品號 | 低倍組織 |
1號 | 一般疏松1級,中心偏析1級 |
2號 | 一般疏松1級,中心偏析1級 |
表2 閥芯化學成分(質量分數) (%)
成分 | C | Si | Mn | S | P | Cr |
含量 | 1.02 | 0.36 | 0.31 | 0.007 | 0.008 | 1.5 |
對未淬火的零件取樣作球化退火態分析,組織為球狀珠光體+粒狀碳化物,退火組織評級1~2級,如圖3所示,為正常退火組織。

圖3 退火組織(4%硝酸酒精) 500×
截取與裂紋垂直的面磨制金相試樣,經拋光后采用4%的硝酸酒精溶液腐蝕,裂紋兩側無脫碳跡象,金相組織與基體一致,為回火馬氏體+粒狀碳化物+極少量殘留奧氏體,在零件內部有內裂紋產生,裂紋為沿晶裂紋。由此可以斷定裂紋主要是由于零件內部組織發生馬氏體相變時組織應力較大,并在多處應力集中所出現的淬火開裂,實際上是一種淬火裂紋。
3.裂紋原因分析
控制閥芯材料是GCr15鋼,生產上采用的淬火溫度是(850±10)℃,加熱設備選用的是鹽浴爐,冷卻用32號機械油。該鋼wc=0.95~1.15%,wcr=1.5%,鉻和碳的共同作用,加熱時溶入奧氏體后,降低了Ms點(馬氏體轉變點),提高了鋼的淬透性,但同時也增加了奧氏體的穩定性,使淬火后保留10%~15%的殘留奧氏體。且由于淬火溫度愈高,溶入奧氏體中的碳及合金元素含量就愈多,奧氏體穩定性也愈高,相應的殘留奧氏體就愈多。而殘留奧氏體是一種不穩定的組織,淬火后從油中取出放在鐵板上攤開冷卻,冷到室溫后再進行冷處理(用點溫計測量溫度),這個過程一般需要2~3h。在這個過程中,這些殘留奧氏體會發生轉變,但其轉變非常緩慢,難以進行馬氏體化,但在隨后的冷處理過程中,由于溫度低,這些殘留奧氏體就會加速發生轉變,殘留奧氏體量愈多,轉變成的馬氏體就愈多,產生的相變應力就愈大,該應力與既存的淬火應力疊加,引起與淬火裂紋相同的裂紋,即冷處理裂紋。
這是因為熱處理零件的開裂是由于在冷卻過程中,熱應力與組織應力的合成內應力,在瞬間超過了材料的脆斷抗力的結果,該零件含碳量高,發生馬氏體相變時的比體積變化增大,馬氏體相變溫度Ms點降低,熱應力減弱,呈現出以組織應力為主的分布特征。而由于零件較小,材料淬透性好,心部完全淬透,淬火時,馬氏體相變開始于表面然后向心部擴展,發生了馬氏體相變的表層因其體積膨脹必然對尚未處于奧氏體相變的心部施以拉應力,而其本身則因心部的限制而受壓應力,壓應力的峰值隨相變的進行向心部移動,由于奧氏體具有良好的塑性和很低的屈服強度,因此,相變應力必將引起處于奧氏體狀態的心部發生塑性變形,隨后當心部溫度降低到Ms點而發生馬氏體相變時,伴隨的體積膨脹由于受到已轉變成馬氏體的堅硬的表層的阻礙,產生了與前述相反的組織應力。隨著心部馬氏體相變的進行,組織應力發生反向,最終形成了表層為拉應力,心部為壓應力的殘留組織應力。在淬火后未作任何處置的情況下在空氣中放置,應力未得到釋放,而由于馬氏體轉變終止點(Mf)在-70℃左右,在室溫放置及隨后的冷處理過程中,殘留奧氏體會發生轉變,而在冷處理過程中,有兩種原因造成內應力,一是快速冷卻,二是殘留奧氏體的馬氏體化。生產中采用的將零件置于溫度可達-78℃干冰酒精溶液的保溫桶里進行的,溫度低于該材料的馬氏體轉變終止點Mf,冷卻速度加快,淬火后殘留的部分未轉變的奧氏體進一步轉變成馬氏體,同樣形成表層為拉應力,心部為壓應力的殘留應力,這兩種應力不但未互相抵消,而是相互疊加,并且在低溫下材料本身的脆斷抗力降低,所以當快速冷卻與殘奧馬氏體化產生的相變應力與前期淬火時產生的淬火應力疊加,超過材料脆斷抗力,就產生了裂紋。如果已有顯微裂紋,則可能導致裂紋的長大或擴展為宏觀裂紋。
綜上所述,控制閥芯冷處理后出現批量裂紋的根本原因是由于淬火及冷處理時均產生了表層為拉應力,心部為壓應力的殘留內應力,相互疊加后超過材料的脆斷抗力所致,且淬火后形成的殘留奧氏體量越多,越容易產生裂紋。
4.消除裂紋的驗證試驗
淬火應力因冷處理而增加,從而引起冷處理裂紋,所以要避免冷處理裂紋,就應在冷處理前把淬火應力減少。據資料介紹,用100℃左右的低溫回火可消除約25%的淬火應力,用200℃左右的溫度回火可消除約50%的淬火應力。為此,分別對淬火后的零件用100℃開水和180℃油爐預回火1h進行試驗,來驗證閥芯裂紋的原因。
其具體過程如下:淬火溫度仍選用(850±10)℃,加熱設備選用的鹽浴爐,冷卻用32號機械油,首批試驗68件,淬火過程不變,但零件從油中取出后,分三種方案進行處理:20件100℃開水煮1h,取出后待零件表面預冷到60℃左右即投入水中冷卻,使零件溫度快速降到室溫與其余產品一同進行冷處理;20件180℃油爐煮油1h,取出后待零件表面預冷到60℃左右投入水中冷卻,使零件溫度快速降到室溫與其余產品一同進行冷處理;剩余零件28件按原工藝進行,即在鐵板上攤開自然冷卻到室溫,該過程2~2.5h,待自然冷卻的零件達到室溫后(用紅外線點溫計測量),將幾種方案處理的零件分別作好標識后放入保溫桶底部,倒入干冰和酒精(酒精必須淹沒零件),冷處理1h。冷處理后將零件取出攤開在空氣中自然回升到室溫后再進入油爐回火,這個過程3~4h,回火后噴砂、磁粉探傷檢查裂紋,并對每種工藝方案破試零件檢測金相組織。
(1) 淬火+100℃開水預回火1h+冷處理1h+回火,金相組織如圖4所示。

圖4 回火馬氏體+粒狀碳化物(2級)+無明顯殘留奧氏體 400×
(2)淬火+180℃煮油預回火1h+冷處理1h+回火,金相組織如圖5所示。

圖5 回火馬氏體+粒狀碳化物(2級)+無明顯殘留奧氏體 400×
(3)原工藝方案:淬火+冷處理1h+回火,金相組織如圖6所示。

圖6 回火馬氏體+粒狀碳化物(3級)+無明顯殘留奧氏體 400×
裂紋探傷檢測結果見表3。
表3 控制閥芯工藝驗證方案及磁粉探傷結果
序號 | 工藝驗證方案 | 加工數量 /件 | 裂紋數量 /件 | 裂紋率 (%) |
1# | 淬火+100℃開水 預回火1h+冷處理1h+回火 | 20 | 0 | 0 |
2# | 淬火+180℃煮油 預回火1h+冷處理1h+回火 | 20 | 0 | 0 |
3# | 淬火+冷處理1h+回火 | 28 | 4 | 14.29 |
從以上金相檢測及磁粉探傷結果可以看出,三種工藝方案金相組織都合格,均無明顯殘留奧氏體。但按原工藝方案“淬火+冷處理1h+回火”裂紋率達14.29%,而其余兩種方案由于在冷處理前消除了一部分淬火應力,剩余淬火應力與冷處理過程中殘留奧氏體的馬氏體化產生的相變應力的疊加未超過材料的脆斷抗力,所以無裂紋產生,這也證明了前面的裂紋原因分析。
5.消除裂紋的改進措施
根據第一次驗證的結果,淬火后冷處理前100℃開水預回火1h與180℃油爐預回火1h均取得了相同的結果,但100℃開水預回火1h消除應力的效果不如180℃油爐預回火1h,故選定“淬火+180℃油爐預回火1h+冷處理+回火”工藝方案。為確保產品最終獲得極少量殘留奧氏體,保證尺寸穩定性,對淬火工藝及淬冷至冷處理的時間間隔作了一些改進,并進行了第二次、第三次工藝驗證試驗。
(1)淬火工藝的改進
資料介紹,GCr15鋼淬火溫度范圍在810~860℃,一般采用830~860℃,當淬火溫度低于810℃,溶入奧氏體中的碳量僅為鋼中含碳量的37%,溶入奧氏體中的鉻量也僅為鋼中含鉻量的36%,從而使得奧氏體中碳及鉻含量不足,達不到硬度及淬透性的要求,對鋼的強度和疲勞壽命十分不利。但若淬火溫度高于860℃,碳化物溶解過多,會引起過熱,使奧氏體晶粒粗大,淬火后得到粗針狀馬氏體,造成殘留奧氏體的增加,導致強度、韌性和使用壽命降低。為盡量減少零件淬火后的殘留奧氏體量,將淬火溫度由(850±10)℃降為(840±10)℃,并適當縮短保溫時間。這樣可減少溶入奧氏體中的碳和合金元素,降低奧氏體的穩定性,從而減少淬火后殘留奧氏體量。
(2)縮短淬冷到冷處理的時間間隔
冷處理效果取決于冷處理溫度和淬冷到冷處理的停留時間。冷處理溫度主要是根據鋼的馬氏體轉變終止點(Mf)、淬火組織中殘留奧氏體含量、冷處理對力學性能的影響、零件的技術要求和形狀復雜情況而定。GCr15鋼在加執到正常淬火溫度后連續冷卻到低溫時,馬氏體轉變終止點(Mf)在-70℃左右,低于Mf的深冷處理,對減少殘留奧氏體的效果并不顯著,不僅不能顯著減少殘留奧氏體含量,還會加大零件內應力,引起超顯微裂紋,從而降低疲勞壽命和沖擊韌性,故此選用溫度可達-78℃干冰酒精溶液。
零件從淬冷到冷處理之間的停留時間越短,冷處理效果越好,停留時間過久,易出現殘留奧氏體的陳化穩定,降低冷處理效果。但形狀復雜的零件淬冷到室溫后立即進行冷處理會產生開裂,對控制閥芯這種形狀復雜的零件來說,由于含鉻量高,淬透性好,加之它的殘留奧氏體不易趨于穩定,故可采取“淬火+立即回火+冷處理+低溫回火”工藝規范。淬火工件冷處理前在常溫下允許停留的時間決定于鋼的奧氏體穩定化敏感程度,GCr15鋼屬中等殘留奧氏體穩定化程度的鋼,在室溫下允許的停留時間為2~3h,為保證冷處理效果,經試驗,閥芯從淬冷到180℃油爐預回火1h再水冷進入冷處理完全可控制在2h以內,最大限度地減少殘留奧氏體的陳化穩定。
冷處理后零件放在空氣中恢復到室溫后立即進行回火,否則也會導致零件開裂。一般從深冷處理后至回火的停留時間不應超過4h。
(3)回火工藝的改進
GCr15鋼淬火組織中存在兩種亞穩定組織—馬氏體和殘留奧氏體,有自發轉化或誘發轉化成穩定組織的趨勢。同時,零件在淬火后處于高應力狀態,在長時間存放或使用過程中,容易引起尺寸改變,喪失精度,甚至開裂。而回火可以消除殘留應力,防止開裂,并能使亞穩定組織轉變為相對穩定的組織,從而穩定尺寸,提高韌性,獲得良好的綜合力學性能。GCr15鋼經-78℃,1h深冷處理后在200℃左右回火6h以上可將殘留奧氏體量控制在3%左右,所以為獲得極少量的殘留奧氏體量,保證零件尺寸穩定性,在保證硬度要求的前提下將回火溫度提高到200℃,并進行兩次回火,回火時間延長到8h,使其尺寸更加穩定。
(4)改進后工藝驗證試驗
根據改進后的工藝進行了兩次工藝驗證試驗,結果如下:
第一次:840℃淬火+180℃油爐預回火1h+冷處理1h+200℃油爐回火兩次(4h+4h),淬冷到冷處理間隔時間2h,金相組織檢測如圖7所示(破試兩件零件)。磁粉探傷結果見表4。

(a) (b)
圖7 回火馬氏體+粒狀及點狀碳化物+無明顯殘留奧氏體 400×
表4 控制閥芯工藝改進驗證方案及磁粉探傷結果
序號 | 工藝驗證方案 | 加工數量 /件 | 裂紋數量 /件 | 裂紋率 (%) |
1# | 淬火+180℃油爐預 回火1h+冷處理1h+回火 | 20 | 0 | 0 |
2# | 淬火+冷處理1h+回火 | 30 | 3 | 10 |
第二次:840℃淬火+180℃油爐預回火1h+冷處理1h+200℃油爐回火兩次(4h+4h),淬冷到冷處理間隔時間2h,金相組織檢測如圖8所示(破試兩件零件)。磁粉探傷結果見表5。

(a) (b)
圖8 回火馬氏體+粒狀及點狀碳化物+無明顯殘留奧氏體
表5 控制閥芯工藝改進驗證方案及磁粉探傷結果
序號 | 工藝驗證方案 | 加工數量 /件 | 裂紋數量 /件 | 裂紋率 (%) |
1# | 淬火+180℃油爐預 回火1h+冷處理1h+回火 | 20 | 0 | 0 |
2# | 淬火+冷處理1h+回火 | 50 | 4 | 8 |
6.結語
控制閥芯冷處理裂紋是由于淬火應力與冷處理過程中殘留奧氏體的馬氏體化產生的相變應力的疊加超過材料的脆斷抗力引起的,通過在淬火后冷處理前增加180℃油爐預回火1h消除部分淬火應力,降低淬火溫度減少淬火后殘留奧氏體量,縮短淬冷到冷處理的停留時間防止殘留奧氏體陳化穩定,提高回火溫度、增加回火次數確保回火穩定性等措施,在保證產品使用性能的情況下,有效避免了裂紋的產生,取得了顯著的經濟和質量成效。
作者:李章芬
單位:重慶大江工業車橋公司
來源:《金屬加工(熱加工)》雜志
| |


